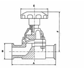
手动隔膜阀产品介绍(Manual operated diaphragm valve )
1.手动隔膜阀是带尾阀、具有可功能的新型阀门,手动〔手轮〕驱动直通式截止阀。EPDM隔膜材料、精密铸造不锈钢阀体、抛光直通无死角通道, 并且具有开、关限位及状态显示功能。 该阀门耐酸、耐碱、无外漏、不染菌、易以及维护方便。
2.隔膜阀的优点近似于夹紧阀。其闭合元件不被工艺介质所湿润,因此在腐蚀性工艺介质中能够使用较便宜的材料制造。流动物流是直线通过或近似于直线通过,且产生小的压力降,使它成为理想的开关操作,并避免了产生紊流。隔膜阀也可作节流操作,然而在靠近阀体底部维持一个节流位置时,有时小颗粒会在隔膜或阀体底部切成草寇而导致腐蚀。因为隔膜是位于承压阀体内,隔膜阀能够比加紧阀处置稍高的压力,但是总的压力及温度额定范围是依赖于材料的韧性或隔膜的增强。阀体流动通道与隔膜韧性量有关。隔膜阀另一优点是如果隔膜失效,阀体能容纳浅陋的物流,而好于加紧阀外壳。
3.隔膜阀的应用条件近似于夹紧阀。隔膜的回弹使他沿着流体中的颗粒而密封,并使它在烯浆、工艺材料或含有固体的流体中能理想的操作。
手动隔膜阀的操作很近似于胶管阀的操作。旋转手轮是压缩器下降,开始像阀体底壁推动隔膜。在节流状态,手动操纵器旋转到所需的流量处之后并停留在该处。在开–关状态,达到压力时,两个表面则达到严密的密封。当隔膜阀打开时,手动操纵器的旋转作用则相反,当闭合元件提升后扩大了流动面积。终,在全开位置,压缩器收缩到阀盖帽内部,隔膜远离物流。在此点阀门达到它的全面积容量。总之隔膜阀提供固有等百分比流动特性,该特性在操作时往往会直线运动。
1.手动隔膜阀是带尾阀、具有可功能的新型阀门,手动〔手轮〕驱动直通式截止阀。EPDM隔膜材料、精密铸造不锈钢阀体、抛光直通无死角通道, 并且具有开、关限位及状态显示功能。 该阀门耐酸、耐碱、无外漏、不染菌、易以及维护方便。
2.隔膜阀的优点近似于夹紧阀。其闭合元件不被工艺介质所湿润,因此在腐蚀性工艺介质中能够使用较便宜的材料制造。流动物流是直线通过或近似于直线通过,且产生小的压力降,使它成为理想的开关操作,并避免了产生紊流。隔膜阀也可作节流操作,然而在靠近阀体底部维持一个节流位置时,有时小颗粒会在隔膜或阀体底部切成草寇而导致腐蚀。因为隔膜是位于承压阀体内,隔膜阀能够比加紧阀处置稍高的压力,但是总的压力及温度额定范围是依赖于材料的韧性或隔膜的增强。阀体流动通道与隔膜韧性量有关。隔膜阀另一优点是如果隔膜失效,阀体能容纳浅陋的物流,而好于加紧阀外壳。
3.隔膜阀的应用条件近似于夹紧阀。隔膜的回弹使他沿着流体中的颗粒而密封,并使它在烯浆、工艺材料或含有固体的流体中能理想的操作。
手动隔膜阀的操作很近似于胶管阀的操作。旋转手轮是压缩器下降,开始像阀体底壁推动隔膜。在节流状态,手动操纵器旋转到所需的流量处之后并停留在该处。在开–关状态,达到压力时,两个表面则达到严密的密封。当隔膜阀打开时,手动操纵器的旋转作用则相反,当闭合元件提升后扩大了流动面积。终,在全开位置,压缩器收缩到阀盖帽内部,隔膜远离物流。在此点阀门达到它的全面积容量。总之隔膜阀提供固有等百分比流动特性,该特性在操作时往往会直线运动。
.png)


wh-6201盖米隔膜阀产品展示:






















